सिंहावलोकन
CW8400 हाइड्रोलिक बेंच प्रेशर पंप आसानी से स्थिर दबाव उत्पन्न करने के लिए प्राइम - पंप संरचना का उपयोग करता है, जिसे दबाव ट्रांसमीटर, दबाव गेज आदि जैसे दबाव उपकरणों को कैलिब्रेट करने के लिए प्रयोगशालाओं में दबाव उपकरणों के तेजी से अंशांकन के लिए विकसित किया गया है।
हाइड्रोलिक बेंच प्रेशर पंप की विशेषताएं
मजबूत और टिकाऊ
अनुकूलित सीलिंग संरचना रिसाव के जोखिम को कम करती है और दीर्घकालिक स्थिरता सुनिश्चित करती है।
आसान कामकाज
लीवर दबाव और सर्पिल फाइन ट्यूनिंग सहज और कुशल दबाव उत्पादन को सक्षम बनाता है।
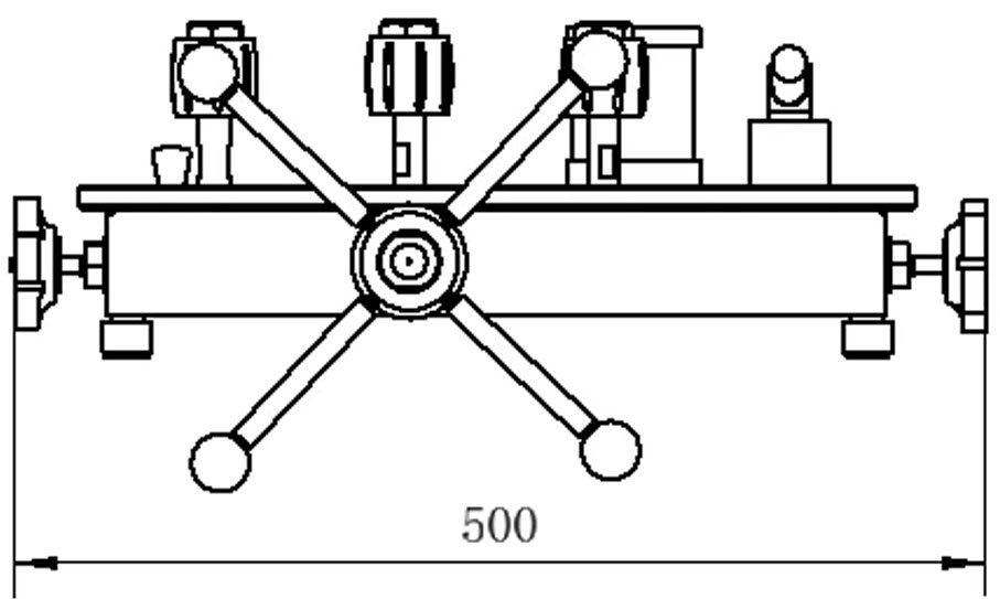
Sआकार


हाइड्रोलिक बेंच प्रेशर पंप के विनिर्देश
| नमूना: | CW8400 |
| श्रेणी: | (0-600/700)बार;(0~1000)बार; (0~1600)बार |
| मध्यम: | तांबा, एल्यूमीनियम मिश्र धातु, स्टेनलेस स्टील (304), ब्यूटाडाइन रबर (आमतौर पर सेबकेट) / शुद्ध पानी के साथ संगत तेल |
| आकार: | 500मिमी×400मिमी×175मिमी |
| वज़न: | 15 किलो |
| कनेक्शन: | M20*1.5 F |
| आयाम: | 500L×400W×175H मिमी |
| मीडिया: | तेल |
टिप्पणी: लंबी दूरी के परिवहन के दौरान, तेल कप में तरल माध्यम को खाली करने का प्रयास करें.
सहायक उपकरण शामिल हैं
|
वस्तु |
विवरण |
मात्रा |
|
उपयोगकर्ता पुस्तिका |
|
1 पीसी |
|
हे-छल्ले |
कनेक्शन थ्रेड उपयोग के लिए IDφ12X2.5 |
10 पीसी |
|
पैकिंग केस |
कठिन ले जाने का मामला |
1 पीसी |
एडेप्टर(वैकल्पिक)
आधार मानक के रूप में M20×1.5 पुरुष धागे का उपयोग करते हुए, वे सभी प्रकार के उपकरणों के लिए संगत एडाप्टर सुनिश्चित करने के लिए विभिन्न विशिष्टताओं के बीच पारस्परिक रूपांतरण को सक्षम करते हैं।
|
M20×1.5 से |
M20×1.5 F/M |
G1/2 F/M |
एनपीटी1/2 एफ/एम |
|
M16×1.5 F/M |
G3/8 F/M |
एनपीटी3/8 एफ/एम |
|
|
M14×1.5 F/M |
G1/4 F/M |
एनपीटी1/4 एफ/एम |
|
|
M12×1.25 F/M |
G1/8 F/M |
एनपीटी1/8 एफ/एम |
|
|
M10×1 F/M |
ZG1/2 एफ/एम |
ZG3/8 एफ/एम |
|
|
ZG1/4 एफ/एम |
ZG1/8 एफ/एम |
φ6 कांटेदार फिटिंग |
सामान(वैकल्पिक)
|
सामान |
टिप्पणी |
संदर्भ |
|
एडाप्टर सेट बॉक्स |
एडॉप्टर के 36 टुकड़े |
|
|
वायु-तरल विभाजक |
दबाव अंशांकन के दौरान अवशिष्ट तरल और अशुद्धियों को अलग और फ़िल्टर करता है। |
|
|
CWY300 डिजिटल दबाव अंशशोधक |
रेंज (-1~2500) बार सटीकता 0.02%, 0.05%, 0.1 % |
|
|
CWY122 डिजिटल गेज |
रेंज (-1~2500) बार सटीकता 0.02%, 0.05%, 0.1% |
|
गारंटी: 1 वर्ष।
हम इस दस्तावेज़ की सटीकता सुनिश्चित करने का प्रयास करते हैं। हालाँकि, बाज़ार के विकास और उत्पाद सुधारों के कारण, सामग्री को बिना पूर्व सूचना के अपडेट किया जा सकता है। छवियां केवल संदर्भ के लिए हैं, वास्तविक उत्पाद भिन्न हो सकते हैं।
डाउनलोड करना
उत्पाद विवरण प्रदान किया गया
चयन संबंधी जानकारी
हमसे संपर्क करें
+8618202956927
sales@creatwit.com
| नमूना: | CW8400 |
| श्रेणी: | (0-600/700)बार;(0~1000)बार; (0~1600)बार |
| मध्यम: | तांबा, एल्यूमीनियम मिश्र धातु, स्टेनलेस स्टील (304), ब्यूटाडाइन रबर (आमतौर पर सेबकेट) / शुद्ध पानी के साथ संगत तेल |
| आकार: | 500मिमी×400मिमी×175मिमी |
| वज़न: | 15 किलो |
| कनेक्शन: | M20*1.5 F |
| आयाम: | 500L×400W×175H मिमी |
| मीडिया: | तेल |
टिप्पणी: लंबी दूरी के परिवहन के दौरान, तेल कप में तरल माध्यम को खाली करने का प्रयास करें.
-
प्रश्न: हमारे तेल दाखिल में, गेज गंदा है, क्या पंप अवरुद्ध हो जाएगा?
उत्तर: नहीं, हमारा पंप एक निस्पंदन और जल निकासी प्रणाली के साथ डिज़ाइन किया गया है। निर्देशों के अनुसार, समय पर सफाई और रखरखाव आम तौर पर रुकावट की समस्या को रोकेगा। यहां तक कि अवरुद्ध होने पर भी, हम दूरस्थ निर्देशित रखरखाव कर सकते हैं, जो आसान है।
-
प्रश्न: वारंटी अवधि क्या है? कौन सी वस्तुएँ शामिल नहीं हैं?
उत्तर: वारंटी में एक वर्ष शामिल है। मानवीय क्षति को कवर नहीं किया जाता है, लेकिन वारंटी से अधिक होने पर केवल सामग्री लागत की प्रतिपूर्ति की जाएगी।
लोकप्रिय टैग: हाइड्रोलिक बेंच प्रेशर पंप, चीन हाइड्रोलिक बेंच प्रेशर पंप निर्माता, आपूर्तिकर्ता, कारखाने










